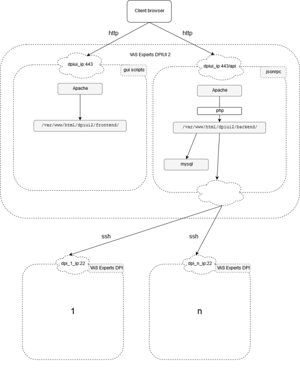
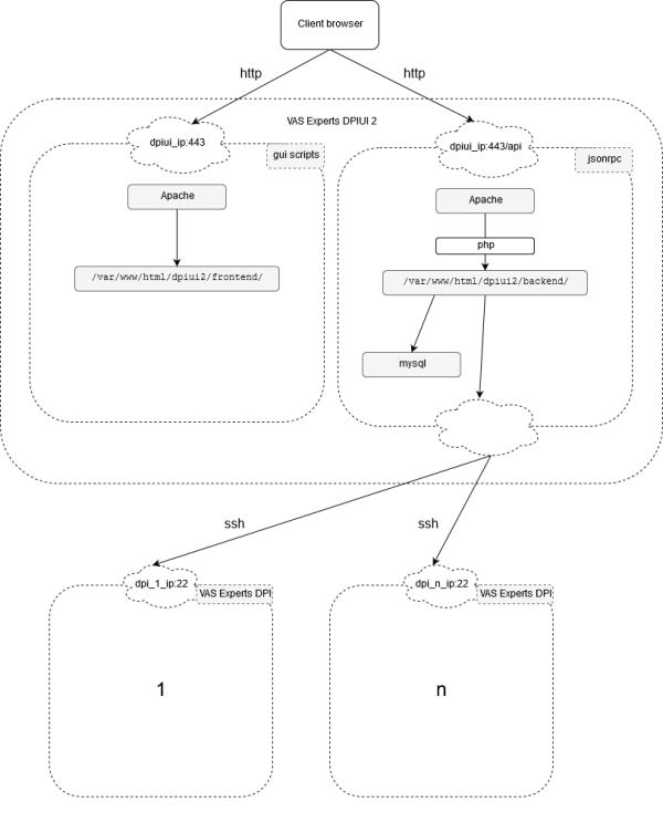
Introduction and architecture
Watch the overview video tutorial:
The Stingray Service Gateway DPI Management Interface is designed to control the DPI using the graphical user interface
Was this information helpful?
The Stingray Service Gateway DPI Management Interface is designed to control the DPI using the graphical user interface
Was this information helpful?
Can't find the page you need?